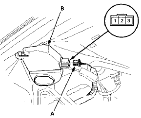
Honda Accord: Trunk Lid Latch Switch Test
1. Open the trunk lid.
2. Disconnect the 3P connector (A) from the trunk lid latch assembly (B).

3. Check for continuity between terminals No. 1 and No.
2.
• There should be continuity with the trunk lid open.
• There should be no continuity with the trunk lid closed.
4. If the continuity is not as specified, replace the trunk lid latch assembly.
Vanity Mirror Light Test/Replacement
1 . Remove the sunvisor (see page 20-135).
2. Disconnect the 2P connector (A) from the sunvisor (B).
Vanity Mirror Light: 1.1 W x 2
3. Check for continuity between terminals No. 1 and No.
2. ...
See also:
Engine Number
Engine Type
K24Z2: 2.4 L DOHC i-VTEC Sequential Multiport
Fuel-injected, 177HP engine
K24Z3: 2.4 L DOHC i-VTEC Sequential Multiport
Fuel-injected, 190HP engine
Serial Number
3000001 -K24Z2 pro ...
Output Shaft (Countershaft) Speed
Sensor Replacement
1. Remove the nut securing the under-hood fuse/relay
box, and swing it out of the way.
2. Remove the intake air duct and the air cleaner
housing.
3. Disconnect the output shaft (countershaft) ...
Drive Belt Auto-tensioner
Inspection
Special Tools Required
Belt Tension Release Tool Snap-on YA9317 or
equivalent, commercially available
1. Turn the ignition switch to ON (II), and make sure to
turn the A/C switch OFF. Turn the ign ...
