Honda Accord: Trim Removal/Installation - Pillar
Areas
Special Tools Required
KTC Trim Tool Set SOJATP2014*
*Available through the Honda Tool and Equipment Program; call 888-424-6857
A-Pillar Trim
SRS components are located in this area. Review the SRS component locations, 2-door (see page 24-23), 4-door (see page 24-21) and the precautions and procedures (see page 24-25) before doing repairs or service.
NOTE: - Follow the A-pillar trim installation procedure carefully; improper installation could cause the side curtain airbags to deploy improperly and possibly cause injury.
- Put on gloves to protect your hands.
- Use the appropriate tool from the KTC trim tool set to avoid damage when removing components.
- Take care not to scratch the trim or the panels.
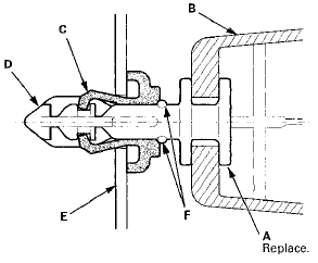
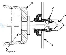
- The upper clip (A) in the A-pillar trim (B) consists of a plastic grommet (C) and a metal pin (D). The grommet expanded by the pin secures it to the body panel (E).
The projections (F) on the pin break during removal, so the upper clip must be replaced with a new one when the trim is reinstalled.

1. Pull the front door opening seal away from the A-pillar as needed: - 2-door (see step 6 on page 20-106) - 4-door (see step 6 on page 20-109) 2. Hit the upper clip (A) in the A-pillar trim (B) with a rubber mallet. The clip is located under the point where the triangle mark (C) on the edge of the trim indicates. Hitting the clip breaks the projections (D) on the pin ( E ) and pushes it into the grommet (F) on the body (G).
NOTE: The upper clip must be replaced with a new one when the A-pillar trim is reinstalled.


3. Pull back the top of the A-pillar trim (A) by hand to remove the upper clip (B) from the body (C).


4. Pull out the A-pillar trim (A) by hand to detach the clips. Pull up the trim from the dashboard (B), then remove the trim.

5. If the side curtain airbag has been deployed, replace the A-pillar trim with a new one (see page 24-208).
6. If the side curtain airbag has not deployed, check the A-pillar trim (A) and note the following items: - To prevent the side curtain airbags from deploying improperly and possibly causing injury, inspect the A-pillar trim and replace it with a new one if it has any of the following damage: - Any cracks, deformations, or stress-whitened areas in the A-pillar trim
- Any cracks or stress-whitening in the clip seating surfaces (B) - Replace the upper clip (C) with a new one.
- If the clips (D) are damaged or stress-whitened, replace them with new ones.

7. Temporarily install the A-pillar trim (without the upper clip) to check the overlap between the trim and the headliner (see page 24-210). Remove the trim, and if necessary, adjust the overlap.
8. Carefully install the new upper clip (A) to the A-pillar trim (B). Be sure that the grommet (C) is nearest to the top of the pin (D) as shown.

9. Reinstall the A-pillar trim (A).
-1. Insert the bottom of the trim into the dashboard (B).
-2. Place the trim over the A-pillar (C), and fit its upper clip (D), the lower clips, and the pin (E) into the holes (F) in the A-pillar, then lightly push the trim into place.
NOTE: - Make sure the side curtain airbag is not tucked under the clips or the trim ribs.
- Do not push too hard on the A-pillar trim. If you push too hard, the clip will be damaged, and it will not hold the trim properly.
- Gently tug on the A-pillar trim to verify that all clips are securely fastened.

10. Reinstall the door opening seal.
B-Pillar Upper Trim - 2-door
SRS components are located in this area. Review the SRS component locations (see page 24-23) and the precautions and procedures (see page 24-25) before doing repairs or service.
NOTE: - Put on gloves to protect your hands.
- Take care not to bend or scratch the trim or the panels.
- Use the appropriate tool from the KTC trim tool set to avoid damage when removing components.
1. Remove these items: - Door sill trim (see page 20-105) - Door opening seal, as needed (see step 6 on page 20-106) - Driver's side: Front seat belt lower anchor bolt (see step 2 on page 24-5) - Passenger's side: Front seat belt lower anchor plate (see step 2 on page 24-5) - Rear side trim panel, as needed (see page 20-127)
2. Lower the coat hanger (A), then remove the screw.

3. Pull down the front edge of the C-pillar trim (A) from the B-pillar upper trim (B) by releasing the hooks (C), and pull down the roof area of the C-pillar trim by detaching the clips and releasing the projection (D).

4. Remove the B-pillar upper trim (A).
-1. Release the lower hooks (B) and detach the lower clip (C).
-2. Pull back the bottom of the trim to release the upper pin (D) from the hole in the body.
-3. Detach the upper clip (E).
-4. Pull down the trim to release the upper hook (F) from the hole in the body.

5. Driver's side : Release the hooks (A), then remove the cap (B) from the B-pillar upper trim (C).

6. Pass the front seat belt lower anchor (A) out through a hole in the B-pillar upper trim (B), then remove the trim.

7. Install the trim in the reverse order of r e m o v a l , and note these items: - If the clips (A) are damaged or stress-whitened, replace them with new ones.
- If the side c u r t a i n airbag has d e p l o y e d , replace t he B-pillar upper trim and all clips on the trim with new parts (see page 24-208).
- To prevent the side curtain airbags from deploying improperly and possibly causing injury, inspect the trim and replace it with a new one if it has any of the following damage: - Any cracks or deformations in the B-pillar upper trim (B) or the upper hook (C), or any stress-whitened areas in the upper part of the trim
- Any cracks or stress-whitened areas in the clips seating surfaces (D) - Replace any damaged parts with new ones.
- Make sure the top of the B-pillar upper trim overlaps with the headliner correctly (see page 24-210).
- Make sure the pin on the B-pillar upper trim is engaged to the hole in the body when installing the trim.
- Make sure the upper hook is installed into the hole in the body securely.
- Push the clips and the lower hooks into place securely.
- Before installing the lower anchor, make sure there are no twists or kinks in the seat belt.
Trim inspection

B-Pillar Upper/Lower Trim - 4-door
SRS components are located in this area. Review the SRS component locations (see page 24-21) and the precautions and procedures (see page 24-25) before doing repairs or service.
NOTE: - Put on gloves to protect your hands.
- Take care not to bend or scratch the trim or the panels.
- Use the appropriate tool from the KTC trim tool set to avoid damage when removing components.
1. Remove these items: - Front door sill trim (see page 20-107) - Rear door sill trim (see page 20-109) - Front door opening seal, as needed (see step 6 on page 20-109) - Rear door opening seal, as needed (see step 3 on page 20-110) 2. Slide the front seat forward fully.
3. Remove the front seat belt lower anchor (see page 24-10).
4. Remove the B-piliar lower trim (A).
-1, Pull back the upper area of the B-pillar lower trim to release the upper hooks (B).
-2. Detach the lower clip by pulling back the bottom of the trim by hand.

5. Remove the B-pillar upper trim (A).
-1. Pull back the bottom of the trim by hand to detach the lower hooks (B).
-2. Pull back the bottom of the trim to release the upper pin ( C ) from the hole in the body and the slider (D) from the pin (E) on the front seat belt shoulder anchor adjuster.
-3. Pull back the trim to release the upper hooks (F) from the holes in the body.

6. Pass the front seat belt lower anchor (A) out through a hole in the slider (B), then remove the B-pillar upper trim (C).

7. Install the trim in the reverse order of removal, and note these items: - If the clip (A) is damaged or stress-whitened, replace it with a new one.
- If the side curtain airbag has deployed, replace the B-pillar upper trim, the B-pillar lower trim, and the clip on the trim with new parts (see page 24-208).
- To prevent the side curtain airbags from deploying improperly and possibly causing injury, inspect the trim and replace it with a new one if it has any of the following damage: - Any cracks or deformations in the B-pillar upper trim (B) or the upper hooks (C), or any stress-whitened areas in the upper part of the trim
- Any cracks or deformations in the B-pillar lower trim (D), or any breakages in the part (E) fitted with the B-pillar upper trim
~ Any cracks or stress-whitened areas in the clip seating surface (F)
- Replace any damaged parts with new ones.
- Make sure the top of the trim overlaps with the headliner correctly (see page 24-210).
- Make sure the pin (G) on the front seat belt shoulder anchor adjuster (H) and the hole (I) on the back of the slider are engaged when installing the B-pillar upper trim.
- Make sure the upper hooks are installed into the holes in the body securely.
- Push the clip and the hooks into place securely.
- Before installing the anchor bolt, make sure there are no twists or kinks in the seat belt.
Trim inspection

Slider engagement with shoulder anchor adjuster

C-Pillar Trim - 2-door
SRS components are located in this area. Review the SRS component locations (see page 24-23) and the precautions and procedures (see page 24-25) before doing repairs or service.
NOTE: - Follow the C-pillar trim installation procedure carefully; improper installation could cause the side curtain airbag to deploy improperly and possibly cause injury.
- Put on gloves to protect your hands.
- Use the appropriate tool from the KTC trim tool set to avoid damage when removing components.
- Take care not to scratch the trim or the panels.
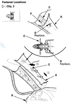
- The rear clip (A) in the C-pillar trim (B) consists of a plastic grommet (C) and a metal pin (D). The grommet expanded by the pin secures it to the body panel (E).
The projections (F) on the pin break during removal, so the rear clip must be replaced with a new one when the trim is reinstalled.

1. Lower the coat hanger (A), then remove the screw.

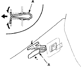
2. Pry out the C-pillar lid cap (A) with the appropriate trim tool, then remove it.

3. Remove the C-pillar lid clip (A) by pinching its hooks with a pair of pliers.

4. Hit the surface of the C-pillar trim (A) just upon the rear clip (B) with a rubber mallet. Hitting the clip breaks the projections (C) on the pin (D) and pushes it into the grommet (E) on the body (F).
NOTE: The rear clip must be replaced with a new one when the C-pillar trim is reinstalled.

5. Pull down the front edge of the C-pillar trim (A) from the B-pillar upper trim (B) by detaching the hooks (C), and pull down the roof area of the C-pillar trim by detaching the clips and releasing the projection (D).

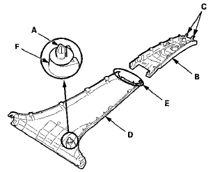
6. Remove the C-pillar trim (A).
-1. Pull back the top of the C-pillar trim by hand to remove the rear clip (B) from the body (C).
-2. Pull out the bottom of the C-pillar trim by hand to detach the hooks (D) from the rear side trim panel (E) and the rear shelf (F).
-3. Release the rear hook (G) from the rear shelf by pulling the C-pillar trim forward.

7. If the side curtain airbag has been deployed, replace the C-pillar trim, the C-pillar lid cap, and the trim clips with new ones (see page 24-208).
8. If the side curtain airbag has not deployed, check the C-pillar trim (A) and note the following items: - To prevent the side curtain airbags from deploying improperly and possibly causing injury, inspect the C-pillar trim and replace it with a new one if it has any of the following damage: - Any cracks, deformations, or stress-whitened areas in the C-pillar trim, the C-piliar lid (B), or the C-pillar brackets (C).
- Any C-pillar brackets which have come off the C-pillar trim or the C-pillar lid.
- Any cracks or stress-whitened areas in the clip seating surfaces (D).
- Any cracks or stress-whitened areas in the C-pillar lid cap (E).
- Replace the rear clip (F) with a new one.
- If the clips (G) are damaged or stress-whitened, replace them with new ones.

9. Temporarily install the C-pillartrim (withoutthe upper clip) to check the overlap between the trim and the headliner (see page 24-210). Remove the trim, and if necessary, adjust the overlap.
10. Carefully install the new rear clip (A) to the C-pillar trim (B). Be sure that the grommet (C) is nearest to the top of the pin (D) as shown.


12. Reinstall the C-pillar trim (A).
-1. Insert the rear hook (B) and the bottom hooks (C) of the trim in the rear shelf (D) and the rear side trim panel (E).
-2. Place the trim over the C-pillar (F), and fit the rear clip (G) into the hole in the body. Align the C-pillar lid clip (H) with the holes in the headliner (I) and the side curtain airbag bracket (J), then lightly push the trim into place.
-3. Install the C-pillar lid cap (K) fully into the clip.
NOTE: - Make sure the side curtain airbag is not tucked under the clips or the trim ribs.
- Do not push too hard on the C-pillar trim. If you push too hard, the clip will be damaged, and it will not hold the trim properly.
- Gently tug on the C-pillar trim to verify that all clips are securely fastened.

13. Fit the projection (A) and the clips into the holes in the body, then push the roof area of the C-pillar trim (B) until its clips snap into place securely, and push the front edge of the trim until its hooks (C) snap into the B-pillar upper trim (D) securely.

14. Reinstall the screw under the coat hanger (A).

C-Pillar Trim - 4-dВ©or
SRS components are located in this area. Review the SRS component locations (see page 24-21) and the precautions and procedures (see page 24-25) before doing repairs or service.
NOTE: - Follow the C-pillar trim installation procedure carefully; improper installation could cause the side curtain airbag to deploy improperly and possibly cause injury.
- Put on gloves to protect your hands.
- Use the appropriate tool from the KTC trim tool set to avoid damage when removing components.
- Take care not to scratch the trim or the panels.
-The upper clip (A) in the C-pillar trim (B) consists of a plastic grommet (C) and a metal pin (D). The grommet expanded by the pin secures it to the body panel (E).
The upper clip must be replaced with a new one when the trim is reinstalled.

1. Remove these items: - Rear seat cushion (see page 20-241) - Rear seat side bolster (see page 20-242) - Rear door opening seal, as needed (see step 3 on page 20-110) 2. Fold down the seat-back.
3. Hit the upper clip (A) in the C-pillar trim (B) with a rubber mallet. The clip is located under the point where the triangle mark (C) on the edge of the trim indicates. Hitting the clip breaks the projections (D) on the pin (E) and pushes it into the grommet (F) on the body (G).
NOTE: The upper clip must be replaced with a new one when the C-pillar trim is reinstalled.

4. Pull back the top of the C-pillar trim (A) by hand to remove the upper clip (B) from the body (C).


5. Pull the C-pillar trim (A) by hand to detach the clips and to release the hooks (B), then pull out the trim from the rear shelf (C).

6. If the side curtain airbag has been deployed, replace the C-pillar trim and all of its clips with new parts (see page 24-208).
7. If the side curtain airbag has not been deployed, check the C-pillar trim (A) and note the following: - To prevent the side curtain airbags from deploying improperly and possibly causing injury, inspect the C-pillar trim and replace it with a new one if it has any of the following damage:
- Any cracks, deformations, or stress-whitened areas in the C-pillar trim
- Any cracks or stress-whitened areas in the clip seating surfaces (B)
- Replace the upper clip (C) with a new one.
- If the clips (D) are damaged or stress-whitened, replace them with new ones.

8. Temporarily install the C-pillartrim (withoutthe upper clip) to check the overlap between the trim and the headliner (see page 24-210). Remove the trim, and if necessary, adjust the overlap.
9. Carefully install the new upper clip (A) to the C-pillar trim (B). Be sure that the grommet (C) is nearest to the top of the pin (D) as shown.

10. Reinstall the C-pillar trim (A).
-1. Insert the bottom hooks (B) of the trim in the rear shelf (C).
-2. Place the trim over the C-pillar (D), and fit the upper clip (E) and the lower clips into the holes (F) in the C-pillar, then lightly push the trim into place.
NOTE: - Make sure the side curtain airbag is not tucked under the clips or the trim ribs.
- Do not push too hard on the C-pillar trim. If you push too hard, the clip will be damaged, and it will not hold the trim properly.
- Gently tug on the C-pillar trim to verify that all clips are securely fastened.

11. Reinstall the rear door opening seal (see step 3 on page 20-110).
Trim Removal/Installation
Door Areas
Special Tools Required
KTC Trim Tool Set SOJATP2014*
*Available through the Honda Tool and
Equipment
Program; call 888-424-6857
Door Sill Area - 2-door
NOTE:
- Put on gloves to protect your ha ...
Trim Remowal/Installatlon - Rear Side Area
Special Tools Required
KTC Trim Tool Set SOJATP2014*
*Available through the Honda Tool and
Equipment
Program; call 888-424-6857
2-door
SRS components are located in this area. Review the
SRS c ...
See also:
Wipers and Washers
The windshield wipers and washers can be
used when the ignition switch is in ON
.
• MIST
The wipers run at high speed until you release
the lever.
• Wiper switch (OFF, INT, LO, HI)
Chan ...
Trunk Lid Latch Switch Test
1. Open the trunk lid.
2. Disconnect the 3P connector (A) from the trunk lid
latch assembly (B).
3. Check for continuity between terminals No. 1 and No.
2.
• There should be continui ...
Clutch Inspection
1. Inspect the 4th and 5th clutch pistons and the clutch
piston check valves (A).
2. If the clutch piston check valve is loose or damaged,
replace the clutch piston.
3. Check the spring retain ...