Honda Accord: Transmission Range Switch
Replacement
1. Raise the vehicle on a lift, or apply the parking brake, block the rear wheels, and raise the front of the vehicle. Make sure it is securely supported.
2. Remove the left front wheel.
3. Move the shift lever to N.
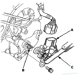
4. Remove the transmission range switch cover.

5. Disconnect the transmission range switch connector.

6. Remove the transmission range switch.
7. Make sure the selector control shaft is in the N position. If necessary, move the shift lever from P to N.
NOTE: Do not use the selector control shaft to adjust the shift position. If the selector control shaft tips are squeezed together it will cause a faulty signal or position due to play between the selector control shaft and the transmission range switch.

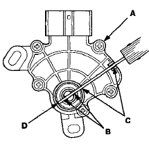
8. Set a new transmission range switch (A) to the N position. Align the cutouts (B) on the rotary-frame with the neutral positioning cutouts (C) on the transmission range switch. Then put a 2.0 mm (0.08 in) feeler gauge blade (D) in the cutouts to hold the transmission range switch in the N position.
NOTE: Be sure to use a 2.0 mm (0.08 in) blade or equivalent to hold the transmission range switch in the N position.

9. Install the transmission range switch (A) gently on the selector control shaft (B) while holding it in the N position with the 2.0 mm (0.08 in) blade (C).

10. Tighten the bolts on the transmission range switch while you continue to hold the N position. Do not move the transmission range switch when tightening the bolts. Then remove the blade.

11. Check the connector for rust, dirt, or oil, and clean or repair if necessary. Then connect the transmission range switch connector securely.
12. Turn the ignition switch to ON (II). Move the shift lever through all positions, and verify the transmission range switch match with the A/T gear position indicator.
13. Check that the engine will start with the shift lever in P and N, and will not start in any other shift lever position.
14. Check that the back-up lights come on when the shift lever is in R.
15. Allow the front wheels to rotate freely, then start the engine, and check the shift lever operation.
16. Install the transmission range switch cover (A).

17. Install the left front wheel.
Transmission Range Switch Test
1. Raise the vehicle on a lift, or apply the parking brake,
block the rear wheels, and raise the front of the
. vehicle. Make sure it is securely supported.
2. Remove the left front wheel.
3. ...
A/T Gear Position Indicator Panel Light
Harness Replacement
Type A Shift Lever
NOTE: The A/T gear position indicator panel light
harness and the park pin switch are not available
separately. Replace the A/T gear position indicator panel
light harness and t ...
See also:
Emergency Towing
Call a professional towing service if you need to tow your vehicle.
• Flat bed equipment
The operator loads your vehicle on the back of a truck.
This is the best way to transport your vehicle.
...
Active Noise Cancellation
Microphone
Removal/Installation
Front
1. Remove the roof console (see page 20-140), and
disconnect the connector (A) from the front active
noise cancellation microphone (B).
2. Remove the screws and the front active noise
can ...
Climate Control Switch
Communication Line Circuit
Troubleshooting
1. Operate the climate control system with the
passenger's climate control switch in all modes.
Does the climate control system operate?
YES-lntermittent failure. Check for loose wires or
poor c ...