Honda Accord: Switch Test/Replacement
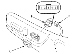
1. Separate the lumbar support switch cover (A) from the switch (B).

2. Disconnect the 5P connector (C) from the switch.
3. Check for continuity between the terminals in each switch position according to the table.

4. If the continuity is not as specified, replace the switch.
Circuit Diagram
...
Motor Test
1. Remove the front seat back panel, and seat-back
cover/pad.
• 4-door (see page 20-221)
• 2-door (see page 20-213)
2. Disconnect the 2P connector (A) from the lumbar
support motor (B ...
See also:
Replacing a Front Turn Signal/Parking Light Bulb
1. Open the hood.
To change the turn signal bulb on
the passenger’s side, remove the
engine coolant reserve tank by
pulling it out of its stay.
Driver’s side on V6 models
Remove t ...
Folding Rear Seat
The back of the rear seat folds down,
giving you direct access to the trunk.
The seat-back is released from inside
the trunk.
When storing cargo, you can move
the rear center shoulder belt o ...
Countershaft Disassembly
NOTE: Refer to the Exploded View in the Countershaft
Reassembly, as needed, when removing components
pressed onto the countershaft (see page 13-46).
1. Securely clamp the countershaft assembly In ...