Honda Accord: Sunlight Sensor Replacement
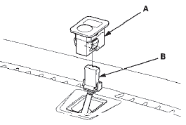
1. Remove the sunlight sensor (A) from the dashboard, then disconnect the connector (B). Be careful not to damage the sensor and the dashboard.
2. Install the sensor in the reverse order of removal.

Sunlight Sensor Test
N O T E ; Before testing t h e sensor, check for HVAC DTCs
(see page 21-101).
1. Remove the sunlight sensor (see page 21 -186).
With automatic lighting sensor
Without automatic lighting sensor ...
Passenger's Air Mix Control Motor
Test
NOTE: Before testing the motor, check for HVAC DTCs
(see page 21-101).
1. Disconnect the 7P connector from the passenger's air
mix control motor.
Incorrectly applying power and ground to the
...
See also:
Changing the Engine Oil and Filter
Always change the oil and filter
according to the maintenance
messages shown on the information
display. The oil and filter collect
contaminants that can damage your
engine if they are not r ...
Combination Light Switch
Test/Replacement
1. Remove the driver's dashboard lower cover (see page 20-166).
2. Remove the steering column covers (see page 17-10).
3. Disconnect the 12P connector (A) from the combination light switch (B).
...
Glove Box Removal/Installation
Special Tools Required
KTC Trim Tool Set SOJATP2014*
*Available through the Honda Tool and Equipment
Program; call 888-424-6857
SRS components are located in this area. Review the
SRS component l ...