Honda Accord: Steering Lock Replacement
1. Remove the steering column (see page 17-10).
2. Center-punch both of the two shear bolts, and drill their heads off with a 5 mm (0.20 in) drill bit. Be careful not to damage the steering lock when removing the shear bolts.

3. Remove the shear bolts from the steering lock, then remove the steering lock.
4. Remove the immobilizer-keyless control unit from the steering lock, then install it on the new steering lock (see page 22-440)..
5. Install the steering lock without the key inserted.
6. Loosely tighten the new shear bolts.
7. Insert the ignition key, and check for proper operation of the steering wheel lock and that the ignition key turns freely.
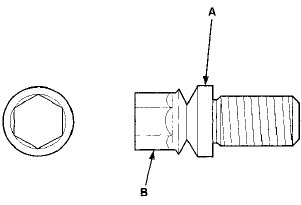
8. Tighten the shear bolts (A) until the hex heads (B) twist off.

9. Install the steering column (see page 17-12).
10. Rewrite all new keys to the immobilizer-keyless control unit (see page 22-439), and make sure the immobilizer system works properly.
Steering Column Inspection
Inspection
1. Remove the steering column (see page 17-10).
2. Check these items;
•Check for loose bearing mounting nuts (A).
If they are loose, replace the column as an assembly.
-Check ...
Rack Guide Adjustment
Special Tools Required
Locknut Wrench, 40 mm 07MAA-SL00100 or Locknut
Wrench, 41 mm 07916-SA50001
1. Set the front wheels in the straight ahead position.
2. Loosen the rack guide screw locknut ( ...
See also:
General Troubleshooting
Information
General Operation
Refer to the navigation system manual for the
navigation system operating procedures.
Anti-theft Feature
The navigation system and audio unit have a coded theft
protection circu ...
Tie-rod End Ball Joint Boot Replacement
Special Tools Required
Bearing Driver Attachment, 36 07965-SA50500
1 Disconnect the tie-rod end ball joint from the knuckle
(see step 26 on page 17-41).
2. Remove the tie-rod end from the rack e ...
Courtesy Lights
Your vehicle has a courtesy light in
the ignition switch. This light comes
on when you open the driver’s door.
It fades out in about 30 seconds after
the door is closed. ...