Honda Accord: Rear Window Replacement
NOTE: - Put on gloves to protect your hands.
- Wear eye protection while cutting the glass adhesive with a piano wire.
- Use seat covers to avoid damaging any surfaces.
- Do not damage the rear window defogger grid lines, the window antenna grid lines, or the terminals.
1. Remove these items:
- Trunk lid
- Rear shelf (see page 20-128)
2. Disconnect the window antenna connectors (A) and the rear window defogger connectors (B). 4-door is shown; 2-door is similar.

3. If the old rear window will be reinstalled, make alignment marks across the glass and the body with a grease pencil.
4. Pull down the rear area of the headliner (A) by detaching the clips. Take care not to bend the headliner excessively, or you may crease or break it 4-door is shown; 2-door is similar.

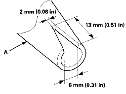
5. Apply protective tape along the inside and outside edges of the body. Make a hole with an awl through the adhesive from inside the vehicle at a corner of the rear window. Push a piece of piano wire through the hole, and wrap each end around a piece of wood.
6. Remove the lower rubber dam (A) from the lower edge of the rear window (B). If necessary, cut the rubber dam with a utility knife. 4-door is shown; 2-door is similar.

7. With a helper on the outside, pull the piano wire (A) back and forth in a sawing motion. Hold the piano wire as close to the rear window (B) as possible to prevent damage to the body, and carefully cut through the adhesive (C) around the entire rear window. 4-door is shown; 2-door is similar.

Cutting positions - 2-door

Cutting positions - 4-door

8. Carefully remove the rear window.
9. Scrape smooth the old adhesive with a knife until there is a thickness of about 2 mm (0.08 in) on the bonding surface around the entire rear window opening flange: - Do not scrape down to the painted surface of the body; damaged paint will interfere with proper bonding.
- Remove the fasteners from the body.
10. Clean the body bonding surface with a shop towel dampened in isopropyl alcohol. After cleaning, keep oil, grease, and water from getting on the surface.
11. If you are reinstalling the old windshield, scrape off all of old adhesive, the fasteners, and the rubber dams from the rear window with a putty knife. Clean the bonding surfaces on the inside face and the edge of the rear window with isopropyl alcohol. Make sure the bonding surface is kept free of water, oil, and grease.
12. Apply glass primer to the edge of the rear window (A) where the lower rubber dam (B) will be attached as shown. Attach the lower rubber dam with adhesive tape (C) to the lower edge of the rear window: - After installing the rubber dam, cut the ends (D) of the rubber dam as shown.
- Be careful not to touch the windshield where the adhesive will be applied.
- 4-door is shown; 2-door is similar.

13. Apply glass primer to the upper clip mounting areas on the windshield, and let it dry. Attach the upper rubber dam (A), the side rubber dams (B), the upper clips (C), and the fasteners (D) with the adhesive tape to the inside face of the rear window (E) as shown.
- First attach the upper rubber dam, then attach the side rubber dams around the edge of the rear window. Be sure the top of the side rubber dam contacts with the bottom of the upper rubber dam.
If necessary, cut the excess rubber dams.
- Be sure the upper rubber dam, the side rubber dams, the upper clips, and the fasteners line up with the alignment marks (F). If necessary, cut the excess rubber dams.
- Be sure the index tabs (G) of the left and right clips face the right side. Be sure the index tabs (G) on the clips faces the right side, - Be careful not to touch the rear window where the adhesive will be applied.
2-door

4-door

14. Attach the fasteners (A) with the adhesive tape to the rear window opening flange (B) of the body on both sides.
2-door


15. Set the rear window in the opening, and center it.
Make alignment marks (A) across the rear window and the body with a grease pencil at the four points shown. Make sure the pins (B) of both upper clips (C) contact with the edge of the body holes. Be careful not to touch the rear window where the adhesive will be applied. 4-door is shown; 2-door is similar.

16. Remove the rear window.
17. Apply a light coat of glass primer to the rear window (A) along the edge of the rubber dams (B) as shown, then lightly wipe it off with gauze or cheesecloth: - Apply the glass primer to the corner areas of the rear window using the printed dots (C) on the rear window as a guide.
- Do not apply body primer to the rear window, and do not mix up the body primer applicators and the glass primer applicators.
- Never touch the primed surfaces with your hands. If you do, the adhesive may not bond to the rear window properly, causing a leak after the rear window is installed.
- Keep water, dust, and abrasive materials away from the primed surfaces.
2-door

4-door

18. Carefully apply a light coat of body primer to any exposed paint or metal around the flange where the new adhesive will be applied. Let the body primer dry for at least 10 minutes: - Do not apply body primer to any remaining original adhesive on the flange.
- Be careful not to mix up the body primer applicators and the glass primer applicators.
- Never touch the primed surfaces with your hands.
2-door

4-door

19. Cut a "V" in the end of the nozzle (A) on the adhesive cartridge as shown.

20. Put the cartridge on a caulking gun, and run a continuous bead of the adhesive (A) to the rear window (B) along the edge of the rubber dams (C) as shown: - Use the printed dots (D) as a guide when you apply the adhesive to the corners of the rear window.
- Apply the adhesive within 30 minutes after applying the glass primer. Make a slightly thicker bead at each corner.
2-door

4-door

21. Hold the rear window with suction cups over the opening, align it with the alignment marks you made in step 15, and set it down on adhesive. Lightly push on the rear window until its edges are fully seated on adhesive all the way around.
NOTE; Do not open or close any of the doors for about an hour until adhesive is dry.
22. Remove the excess adhesive with a putty knife or a shop towel dampened in isopropyl alcohol.
23. Wait at least an hour for the adhesive to dry, then spray water over the rear window and check for leaks.
Mark the leaking areas, let the rear window dry, then seal with sealant. Let the vehicle stand for at least 4 hours after rear window installation. If the vehicle has to be used within the first 4 hours, it must be driven slowly.
24. Reinstall all remaining removed parts.
NOTE: Advise the customer not to do the following things for 2 to 3 days: - Slam the doors with all the windows rolled up.
- Twist the body excessively (such as when going in and out of driveways at an angle or driving over rough, uneven roads).
Rearview Mirror Harness Cover Base
Replacement
4-door with Automatic Dimming Rearview
Mirror
NOTE:
t Put on gloves to protect your hands.
- Wear eye protection while cutting the glass adhesive
with piano wire.
1. Remove these items:
- R ...
Quarter Glass Replacement
2-door
NOTE:
- Put on gloves to protect your hands.
- Wear eye protection when removing the glass with
piano wire.
- Use seat covers to avoid damaging any surfaces.
- The quarter glass cli ...
See also:
Shift Solenoid Valve Test,
Replacement, and Shift Solenoid
Wire Harness Replacement
1. Connect the HDS to the DLC (A) located under the
driver's side of the dashboard.
2. Turn the ignition switch to ON (II). Make sure the HDS
communicates with the PCM. If it does not go to the
...
Synchro Ring and Gear Inspection
1. Inspect the synchro rings for scoring, cracks, and
damage (A).
Example of synchro ring teeth
2. Inspect the inside of each synchro ring (B) for wear.
Inspect the ...
Audio/Information Screen
Displays the audio status and wallpaper. From this screen, you can go to
various
setup options.
• Switching the Display
Press the (display) button to
change the display.
You can also use ...