Honda Accord: Rear Door Panel Removal/Installation
Special Tools Required
-KTC Trim Tool Set SOJATP2014
- Trim Pad Remover Snap-on A 177A, commercially available
*Available through the Honda Tool and Equipment Program; call 888-424-6857
4-door
NOTE: - Take care not to scratch the door or the related parts.
- Use the appropriate tool from the KTC trim tool set to avoid damage when removing components.
- When prying with a flat-tip screwdriver, wrap it with protective tape to prevent damage.
1. Raise the glass fully.
2. Push on the bottom of the inner handle cap (A) while pushing on the upper hook (B) with the appropriate trim tool, then pull back the cap to remove it.

3. Remove the screws securing the inner handle (A).

4. Pry up the notch (A) of the lid (B), and pull back the lid, then remove the screw.

5. Remove the door panel (A) with as little bending as possible to avoid creasing or breaking it.
-1. Start at the bottom edge of the door panel, release the clips with a commercially available trim pad remover.
-2. Detach the remaining clips.
-3. Starting at the rear, pull the door panel upward.
NOTE: The inner handle cable (B) and the latch cable (C) are connected to the inner handle (D). Do not pull the door panel up too far, or these cables will be damaged.

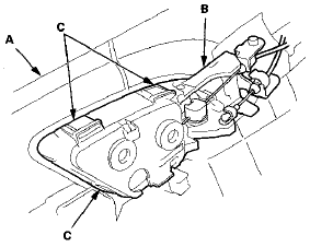
6. While holding the door panel (A) away from the door, remove the inner handle (B) from the door panel by releasing the hooks (C).

7. Remove the door panel (A) while pulling the inner handle (B) out through the hole in the door panel.
While holding the door panel away from the door, disconnect the power window switch connector (C).
NOTE: If you are only removing the door panel, go to step 12. If you are doing further disassembly of the door panel, continue to step 8.

Inner handle removal
8. Disconnect the inner handle cable (A) and the latch cable (B) from the inner handle (C), then remove the handle.
-1. Release the inner handle cable fasteners (D, E), then disconnect the inner handle cable.
-2. Release the latch cable fastener (F), and remove the latch cable fastener (G) from the inner handle by pinching its tabs out.
NOTE: If the cable fasteners are damaged or stress-whitened, replace them with new ones.

Power window switch panel removal
9. Remove the power window switch panel (A) from the door panel (B).
-1. Detach the rear clip.
-2. Pull out along the edge of the panel to release all of the hooks (C).
-3. Pull the power window switch panel rearward to release the front hook (D).

Armrest removal
10. Remove the screws (A), and loosen the screws (B) from back of the door panel (C). Release the hook (D), then remove the armrest (E).

Ornament panel removal
11. Remove the screws from back of the door panel (A), and release the hooks (B, C, D), then remove the ornament panel (E).

12. Install the door panel in the reverse order of removal, and note these items: - If the clips are damaged or stress-whitened, replace them with new ones.
- Replace any damaged cable fasteners with new ones.
- The latch cable (A) should be fixed to the cable fastener (B) with the latch in the unlocked position as shown.
- Make sure the connector is plugged in properly, and the cables are connected securely.
- Make sure the power window and power door lock operate properly.
- When reinstalling the door panel, make sure the plastic cover on the door is installed properly.
- Push the clips and the hooks into place securely.

Front Door Weatherstrip Replacement
NOTE:
- Put on gloves to protect your hands.
- Take care not to scratch the door.
- Take care not to damage the front upper corner clip
(black) (4-door) and the rear upper corner clips (black) ...
Rear Door Outer Handle Replacement
4-door
NOTE:
- Put on gloves to protect your hands.
- Take care not to scratch the door.
1. Remove the door panel (see page 20-38).
2. Disconnect the power door lock actuator connector
(A) ...
See also:
Seat Belt Inspection
Regularly check the condition of your seat belts as follows:
• Pull each belt out fully, and look for frays, cuts, burns, and wear.
• Check that the latches work smoothly and the belts retract ...
Valve Seat Reconditioning
1. Inspect the valve stem-to-guide clearance (see page
6-88). If the valve guides are worn, replace them (see
page 6-88) before cutting the valve seats.
2. Renew the valve seats in the cylinder h ...
Test/Replacement
EX-L, EX-L PZEV models
1. Remove the cover (A), then disconnect BP connector
(B).
2. Turn the ignition switch to ON (II).
3. Measure the voltage between terminal No. 2 and
body ground.
вР...