Honda Accord: Outside Air Temperature Sensor
Replacement
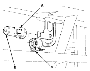
1. Lift the tab (A) to release the lock, then remove the outside air temperature sensor (B) from the front bumper beam. Disconnect the 2P connector (C) from the outside air temperature sensor.

2. Install the sensor in the reverse order of removal.
Outside Air Temperature Sensor Test
NOTE: Before testing the sensor, check for HVAC DTCs
(see page 21-101):.
1. Remove the outside air temperature sensor (seepage'
21-185).
2. Dip the sensor in ice water, and measure the
resist ...
Sunlight Sensor Test
N O T E ; Before testing t h e sensor, check for HVAC DTCs
(see page 21-101).
1. Remove the sunlight sensor (see page 21 -186).
With automatic lighting sensor
Without automatic lighting sensor ...
See also:
Emergency Towing
Call a professional towing service if you need to tow your vehicle.
• Flat bed equipment
The operator loads your vehicle on the back of a truck.
This is the best way to transport your vehicle.
...
Using the Paddle Shifters in the D position (D-Paddle Shift Mode)
V6 models only
When you are driving in theD
position, you can shift the
transmission up or down manually
with the paddle shifters.
To shift up or down, use the +
(right) or - (left) paddl ...
All Children Should Sit in a Back Seat
According to crash statistics,
children of all ages and sizes are
safer when they are restrained in a
back seat.
The National Highway Traffic Safety
Administration and Transport
Canada reco ...