Honda Accord: Front Seat Slide Motor Replacement
SRS components are located in this area. Review the SRS component locations, 2-door (see page 24-23), 4-door (see page 24-21) and the precautions and procedures (see page 24-25) before doing repairs or service.
Driver's Seat (10-way Power Seat)
NOTE; - Put on gloves to protect your hands.
- Take care not to tear or damage the seat covers.
1. Remove the front seat (see page 20-194).
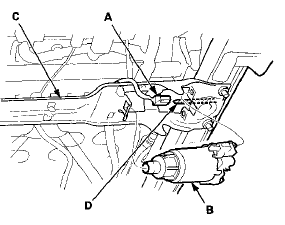
2. Remove the flex cable (A) and the cable housing (B).
-1. Release the housing from the hooks (C).
-2. Disconnect the cable from the worm gear (D) in the -3. Disconnect the cable from the slide motor (E).
NOTE: Take care not to kink the cable.

3. Disconnect the slide motor connector (A), then remove the slide motor (B) from the slide motor bracket (C) while disconnecting the motor from the short flex cable (D).

4. Pull out the short flex cable (A) from the worm gear (B) in the outer seat track.

5. Remove t h e m o t o r end m o u n t i n g (A) f r om the slide m o t o r (B).

6. Install the slide motor in the reverse order of removal, and note these items; - Apply multipurpose grease to the worm gear areas in both seat tracks.
- Install the short flex cable to the slide motor before installing the slide motor to the slide motor bracket.
- Make sure both seat tracks are all the way forward before installing the slide motor bracket on the tracks. Install the short flex cable to the slide motor.
- Make sure the short flex cable and the flex cable are connected properly.
- Make sure the slide motor connector is plugged in properly.
-Check the front seat slide operation.
Front Seat Lumbar Support
Replacement
2-door Driver's Seat
SRS components are located In this area. Review the
SRS component locations (see page 24-23) and the
precautions and procedures (see page 24-25) before
doing repairs or servic ...
Front Seat Slide Lever Replacement
Driver's seat (manual height adjustable
seat)/passenger's seat
NOTE:
- Put on gloves to protect your hands.
- Take care not to tear or damage the seat covers.
1. Remove the front seat {see pa ...
See also:
Automatic Seat Belt Tensioners
For added protection, the front seat
belts are equipped with automatic
seat belt tensioners. When activated,
the tensioners immediately tighten
the belts to help hold the driver and
a fron ...
Key Types and Functions
This vehicle comes with the following key:
All of the keys have an immobilizer system. The
immobilizer system helps to protect against vehicle
theft.
The keys contain precision electronics.
A ...
Shift Solenoid Valve Test,
Replacement, and Shift Solenoid
Wire Harness Replacement
1. Connect the HDS to the DLC (A) located under the
driver's side of the dashboard.
2. Turn the ignition switch to ON (II). Make sure the HDS
communicates with the PCM. If it does not go to the
...