Honda Accord: Front Door Glass and Regulator
Replacement
NOTE: Put on gloves to protect your hands.
1. Remove the door panel: - 2-door (see page 20-12) - 4-door {see page 20-17) 2.2-door: Remove the screws, then remove the door panel bracket (A).

3. Disconnect the power door lock actuator connector (A), and detach the harness clips (B). Remove the plug caps (C). 4-door: Disconnect the power mirror connector (D).
2-door

4-door

4. Pass the wire harness (E) through the slit (F) in the plastic cover (G), then remove the plastic cover.
NOTE: If the plastic cover is damaged or torn, replace it with a new one.
5.4-door: Remove the bolts, and release the hook (A), then remove the door panel bracket (B).

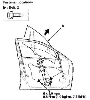
6. Lower the glass (A) until you can see the bolts, then remove them. Carefully pull the glass out through the window slot. Take care not to drop the glass inside the door.
2-door

4-door

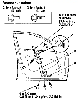
7. Disconnect the connector (A) from t h e regulator ( B ) .
2-door

4-door

8. Remove the bolts (C), and loosen t h e bolts (D).
Release the h o o k (E), then remove t h e regulator through the hole in the door.
9. Apply multipurpose grease to all the sliding surfaces of the regulator (A) where shown. 4-door is shown; 2-door is similar.

10. Install the glass and the regulator in the reverse order of removal, and note these items: - If the clips are damaged or stress-whitened, replace them with new ones.
- Roll the glass up and down to make sure it moves freely without binding.
- Make sure that there is no clearance between the glass and the glass run channel when the glass is closed.
- Make sure the connector is plugged in properly.
- Adjust the position of the glass as necessary, (see page 20-56) - Do the power window control unit reset procedure (see page 22-280).
- Make sure the plastic cover on the door is installed properly and sealed around its outside perimeter to seal out water.
- Push the clips and the hooks into place securely.
- Check for water leaks, (see step 9 on page 20-57) - Make sure the power door locks, the windows and the power mirror operate properly.
- Test-drive the vehicle, and check for wind noise and rattles.
Front Door Latch Replacement
NOTE: Put on gloves to protect your hands.
1. Remove the door panel and the inner handle:
- 2-door ( s e e p a g e 20-12)
- 4-door (see page 20-17)
2. Remove the plastic cover, as needed (see st ...
Front Door Sash Inner Trim
Replacement
2-door
NOTE: Take care not to scratch the door.
1. Remove the door panel (see page 20-12).
2. Lower the glass fully.
3. Remove the door sash inner trim (A).
-1. Detach the clip fastening ...
See also:
Climate Control Unit
Removal / Installation
With Navigation
1. Remove the passenger's dashboard undercover (see
page 20-170).
2. Disconnect the connectors (A). Loosen the bolt (B)
and remove the bolts (C) from the climate control unit (D) ...
Bearing Removal
Special Tools Required
•Attachment, 78x80 mm 07NAD-PX40100
-Driver Handle, 15 x 135L 07749-0010000
-Bearing Driver Attachment, 42 x 47 07746-0010300
1. Remove the idler gear shaft (see page 1 ...
Immobilizer Key Registration
NOTE:
• The HDS is required for registration of the immobilizer
keys.
• Programming the immobilizer also programs the
keyless transmitter.
• Check for aftermarket electrical eq ...