Honda Accord: Countershaft Reverse Selector Hub and
3rd Gear Removal
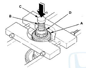
1. Install a commercially available bearing separator on 4th gear (A). Set the countershaft (B) on a press with a spacer (C) between the press and the countershaft, and remove the reverse selector hub (D).
NOTE: Some reverse selector hubs are not press-fitted, and can be removed without using the bearing separator and a press.

2. Remove the needle bearing, the set ring, the 35 x 47 x 7.8 mm collar, and the 31 mm cotters.
3. Set the countershaft (A) on the press with the spacer (B) between the press and the countershaft, and remove 3rd gear (C).

4. Remove the 37 x 41 x 54.3 mm collar, 5th gear, 1st gear, and 2nd gear.
Countershaft Disassembly, Inspection,
and Reassembly
1. Inspect the needle bearings for galling and rough movement.
2. Inspect the splines for excessive wear and damage.
3. Check the shaft bearing surface for scoring and excessive wear.
4. Lubr ...
Countershaft Reverse Selector Hub and
3rd Gear Installation
Special Tools Required
Driver Handle, 40 mm I.D. 07746-0030100
1. Install 2nd gear, 1st gear, 5th gear, and the
37 x 41 x 54.3 mm collar on the countershaft.
2. Slide 3rd gear (A) over the count ...
See also:
Roof and Trunk
...
Passenger's Under-dash Fuse/Relay
Box (MICU) Removal and
Installation
NOTE: SRS components are located in this area. Review
the SRS component locations 4-door (see page 24-21),
2-door (see page 24-23), and precautions, and
procedures (see page 24-25) before doing rep ...
Outside Air Temperature Sensor
Replacement
1. Lift the tab (A) to release the lock, then remove the
outside air temperature sensor (B) from the front
bumper beam. Disconnect the 2P connector (C) from
the outside air temperature sensor.
2 ...