Honda Accord: Carrier Bearing Outer Race
Replacement
Special Tools Required
-Driver Handle, 15 x 135L 07749-0010000
-Attachment, 78 x 80 mm 07NAD-PX40100
-Attachment, 72 x 75 mm 07746-0010600
NOTE: -The bearing and the bearing outer race should be replaced as a set.
-Replace the bearing with a new one whenever the outer race is replaced.
-Do not use the thrust shim from the torque converter housing.
-Adjust bearing preload after replacing the bearing and the outer race.
-Cost all parts with ATF during installation.
1. Remove the hearing cuter race (A), the 76.2 mm thrust washer (B), and the 76 mm thrust shim (C) from the transmission housing (D) by heating the transmission housing to about 212 В°F (100 В°C) using a heat gun (E). Do not heat the transmission housing more than 212 В°F (100 В°C).
NOTE: Let the transmission housing cool to room temperature before installing the bearing outer race.

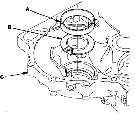
2. Remove the bearing outer race (A) and the 80 mm thrust washer (B) from the torque converter housing (C).

3. Install the 80 mm thrust washer and a new bearing outer race in the torque converter housing.
4. Install the bearing outer race securely in the torque converter housing using the driver handle and the 78 x 80 mm attachment.

5. Install the 76 mm thrust shim (A), the 76.2 mm thrust washer (B), and a new bearing outer race (C) in the transmission housing (D).
NOTE: Be sure to install the 76.2 mm thrust washer with the "41382 RKY" mark facing downward.

6. Install the bearing outer race securely so there is no clearance between the bearing outer race, the 76.2 mm thrust washer, the 76 mm thrust shim, and the transmission housing, using the driver handle and the 72 x 75 mm attachment.

Oil Seal Replacement
Special Tools Required
•Driver Handle, 15 x 135L 07749-0010000
•Oil Seal Driver Attachment 07947-SD90101
-Oil Seal Driver Attachment 07JAD-PH80101
1. Remove the oil seal from the transmi ...
Carrier Bearing Preload Inspection
Special Tools Required
•Driver Handle, 15 x 135L 07749-0010000
•Attachment, 72 x 75 mm 07746-0010600
-Preload Inspection Tool 07HAJ-PK40201
NOTE;
-If the transmission housing, the torqu ...
See also:
CMP Pulse Plate B Replacement
1. Remove the cylinder head cover (see page 6-73).
2. Remove camshaft position (CMP) sensor B (see page
11-198).
3. Hold the camshaft with an open-end wrench, then
loosen the bolt.
4. Remov ...
Disc Changer Error Messages (Models with navigation system)
The chart on the right explains the
error messages you may see in the
center display while playing a disc.
If you see an error message in the
center display while playing a disc,
press the ej ...
How to Set Readiness Codes
Malfunction Indicator Lamp (MIL) Indication
(In relation to Readiness Codes)
The vehicle has certain readiness codes that are part of
the on-board diagnostics for the emissions systems, If
the veh ...