Honda Accord: Cam Chain Case Oil Seal
Installatio
Special Tools Required
Driver Handle, 15 x 135L 07749-0010000
Attachment, 52 x 55 mm 07746-0010400
1. Clean and dry the crankshaft oil seal.
2. Apply a light coat of new engine oil to the lip of the chain case oil seal.
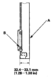
3. Use the driver handle, 15 x 135L and the attachment, 52 x 55 mm to drive a new oil seal squarely into the chain case to the specified installed height.

4. Measure the distance between the chain case surface (A) and the oil seal (B).
Oil Seal Installed Height:
32.4-33.1 mm (1.28-1.30 in)

Cam Chain Auto-tensioner Removal
and installation
Removal
1.Remove the chain case cover
2. Turn the crankshaft counterclockwise to compress the
auto-tensioner.
3. Align the holes on the lock (A) and the auto-tensioner
(B), then insert a 1.2 ...
Cam Chain Inspection
Special Tools Required
Cam Chain inspection Gauge 07AAJ-RWCA100
1. Remove the front wheels.
2. Remove the splash shield (see step 25 on page 5-5).
3. Remove the cylinder head cover (see page 6 ...
See also:
Engine Removal
Special Tools Required
. Universal Lifting Eyelet 07AAK-SNAA120
Engine Hanger Adapter VSB02C000015*
- Engine Support Hanger, A and Reds AAR-T1256*
- Subframe Adapter VSB02C000016*
*Available thro ...
Safety When Performing Maintenance
Some of the most important safety precautions are given here.
However, we cannot warn you of every conceivable hazard that can arise in
performing maintenance. Only you can decide whether or not ...
Shift Lock Release, Release Spring, and
Release Shaft Replacement
Type A Shift Lever
1. Remove the shift lever assembly (see page 14-222).
2. Remove the A/T gear position indicator panel from
the shift lever (see page 14-227).
3. Release the lock (A) of the ...